A large archive of various mirror sites and consolidated information on retro computers

MIRRORS.PDP-11.RU Dir: /projects/floppy/Spindle_Motor_Drivers/schematic/

[ICO]NameSizeDescription
[PARENTDIR]Parent Directory -  
[IMG]3in_spindle.png678K 
[IMG]apple_sony_800k.tif 16K 
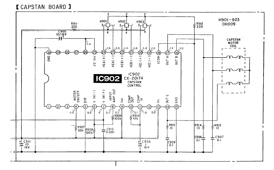
[IMG]sony_capstan.png118K 
[IMG]sony_MPF52_pcb.png743K 
[IMG]sony_OA-D32_pcb.png 40K 
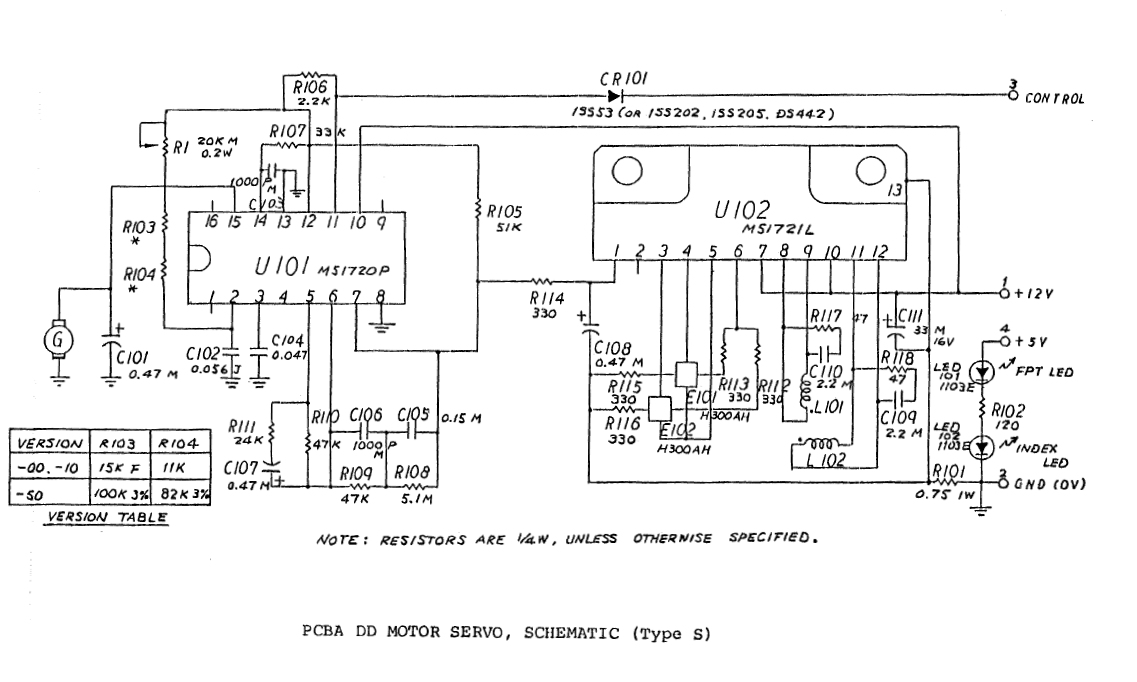
[IMG]sony_OA-D32_schem.png155K 
[IMG]teac_55_g_pcb.png 40K 
[IMG]teac_55_g_schem.png168K 
[IMG]teac_55_k_pcb.png 49K 
[IMG]teac_55_k_schem.png185K 
[IMG]teac_55_s_pcb.png 46K 
[IMG]teac_55_s_schem.png163K 
[IMG]teac_55_t_pcb.png 39K 
[IMG]teac_55_t_schem.png131K 
[IMG]ye-data_ye-380_schem.png201K 

The information contained here is free and no restrictions on downloading we have. However, bandwidth, electricity, server maintenance, process cooling and other related needs cost money. If you would like to donate to help defer the costs to provide this information, please transfer funds to PayPal olle_lu@maxiol.com.
In addition, this collection is by no means complete. If you have anything to contribute to this collection, you can:
1. upload on FTP PDP-11.RU
2. publish it on the forum PDP-11
3. contact us root@maxiol.com.


To improve access to information on our website are made with additional aliases through two other channels. For automated downloading is recommended to use them.
Rostelecom http://rtk.mirrors.pdp-11.ru
Transtelekom http://ttk.mirrors.pdp-11.ru

Яндекс.Метрика